这几天很多小伙伴都问我有没有《Star Sharks》(中文名:星鲨)的详细介绍、经济模型到底怎么样?被催更了...哈哈哈。今天就和大家聊一聊这款游戏,以及近期可以参加的活动。目前游戏还未上线,但近期的热度有了爆发性增长;作为Axie的深度玩家在试玩这款游戏时,每看一个板块,内心就不停的重复,这真的和Axie太像了;话不多说开始正题:
Medium:https://medium.com/@StarSharks
星鲨是一款以鲨鱼为主题、基于BSC链上的NFT-GameFi生态游戏,游戏探索融合了不同类型的游戏,打破游戏壁垒,通过类似乐高的模块化组件技术推动增长,构建一个社区、玩家和开发者共同管理的鲨鱼元宇宙。
星鲨计划打造成一个游戏平台,在早期计划开发5款高质量内部游戏,逐步解锁各种NFT应用场景,如PVP、繁殖模拟、鲨鱼赛车和鲨鱼卡牌,以初步建立平台生态系统,首款游戏就是即将上线的星鲨;
游戏采用双币模型:SSS为治理代币,SEA为游戏代币;
与Axie Infinity相比:Axie也在构建自己的生态系统,方向上偏向纵向发展;星鲨偏向横向发展增加游戏品类。
在游戏和代币均未上线时,币安实验室战略投资,这就不用过多介绍了;
游戏开发团队核心成员来自币安、谷歌及TiMI天美工作室(王者荣耀开发团队),这也不用过多介绍了;
知名投资机构,知名游戏开发团队,这样的项目背景自然会吸引到很多玩家的眼球;
与Axie Infinity相比:都被知名机构看中并投资,虽有先后,即使相同游戏模式,在不同公链上存量和增量玩家也不尽相同;流量在哪里、热度在哪里,也有可能成功复制。
玩家需要购买3只星鲨才能开始游戏;星鲨可以通过购买盲盒或交易市场上购买获得;星鲨提供了不同的游戏玩法:战斗规则和技能机制简单、易于理解,相对友好;除此之外,还有无数的组合、控制和战斗机动的策略,满足了经验丰富的玩家对一款具有无限可能性的具有挑战性的游戏的渴望。
1. 基本介绍:
● 身体部位:游戏中的鲨鱼有六个身体部位,每个部位都有一个部位,身体部位是头部、嘴、背鳍、尾鳍、腹鳍和颈部;
● 基因:身体的每个部分都由一个显性基因(影响鲨鱼的属性)和两个隐性基因(可能在鲨鱼合成过程中成为显性基因)组成的三个基因控制;
● 物种:共有六种分别为虎鲨、鳄鱼鲨、哥斯拉鲨、淡龙鲨、岩鲨和鲸鲨。它们之间有一种权力等级:哥斯拉鲨和岩鲨控制虎鲨,鲸鲨控制鳄鱼鲨,淡龙鲨控制哥斯拉鲨和岩鲨;
● 技能卡:每个组件安装在头、嘴、背鳍或尾鳍上,对应一种用于战斗的技能,玩家在战斗中获得的技能卡是随机的;
● 属性:每条鲨鱼有四个参数分别为生命值(最大健康值)、速度(影响打击顺序和关键抵抗)、技能(影响组合攻击造成的奖励伤害)和士气(影响临界命中率和触发接近死亡的几率和触发的接近死亡的数量);
2. 游戏机制:
● 战斗准备:玩家可以自由地与三种不同种类、不同技能的鲨鱼战斗;
● 战斗过程:回合制对战,一个玩家从拥有六张技能卡开始,然后每个回合随机得到三张技能卡。使用技能卡需要花费能量点,最初是3点,然后每回合增加2点;
3. 游戏玩法:
● 冒险模式:玩家体验星鲨的故事线,并通过完成冒险关卡来解锁新的关卡;
● PvE战斗:玩家选择一个他们已经完成的冒险关卡,然后有能力在其中战斗;
● PVP战斗: 与真实玩家的星鲨团队匹配对战(暂未上线);
4. 游戏收益:
● 完成每日任务的玩家将获得奖励;
● SEA将被奖励给PvP/PvE战斗的赢家;
● 每个玩家根据PvP的表现,每个赛季获得SSS收益,持续一个月。排名前500名的玩家有权获得奖励。
5. 星鲨的升级与合成
● 合成:花费SSS和SEA来合并两条鲨鱼,合成一条新鲨鱼。前两条鲨鱼的基因将被组合,其中一部分将传给新鲨鱼。新鲨鱼的等级会更高,一般也会更强壮。每一次合成之后都有一个冷却期,首先持续5天,然后随着鲨鱼等级的增加而延长;
● 随着鲨鱼的合成,鲨鱼的总数量一直在下降;我们通过官方渠道出售装有鲨鱼的盲盒,购买这些盲盒需要花费SEA,从而形成一个封闭的消费循环和新的供应;维持了鲨鱼的价值,并使SEA的价格更加稳定;
与Axie Infinity相比:游戏玩法基本都是一样的,身体部位、基因型、回合制等都是我完全复制;不同的是Axie是繁殖生出新的宝宝,数量在增加;星鲨是合成,数量在减少;
游戏代币SEA
发行数量是无限的,但其发行和消耗之间的平衡由平台设计调整,保证其稳定性;
1. SEA发行:
a. 平台最初将发行1亿枚SEA,以在PancakeSwap上创建一个交易对,并保持其价格的稳定性;
b. 随后,玩家只能从游戏中获得SEA。
2. SEA稳定性:
生产:前一到两个月的燃烧率为0.87,即使在极端的用户增长场景下也将被限制在1.45,仍然在不需要人工干预和基本保持稳定的范围内。
● 理论上,一个玩家需要有三个鲨鱼来玩游戏。获得鲨鱼的唯一方法是在官方市场上购买盲盒,该平台从购买中收到的所有SEA都将被烧毁。
● 玩家将花费大量的SEA来饲养鲨鱼,而该平台从中收回的所有海洋令牌都将被烧毁。
● IDO后,该平台将在PancakeSwap上创建一个BNB-SEA交易对作为流动性提供商。
治理代币SSS
1. SSS数量:总计1亿枚;
2. SSS分配计划和SSS归属计划
● 稳定的“释放-回收”机制
确保其长期价值,同时不断向市场发布新的SSS。要发布的SSS的数量取决于平台的每月收入,并在由给定算法决定的特定数量的设置范围内浮动。
● SSS发布量重新安排:每年调整发布量,第一年释放78万/月,2年降低衰减系数(9%+n%),根据数学模型,第五年释放量548.4900,第十年仍保持在215.8900。
● 回收率:根据该模型,该平台只需要将回收率(即当年消耗的SSS/当年发布的SSS)保持在20%,以保持稳健的运行
● 奖金池回报数量:SSS将消耗在游戏,其中60%的消费部分将返回奖金池(奖金池的回报率为60%)计算回收率为20%,和年回报量=年发布数量*回收率*回报率
● 剩余的奖励池:当前奖金池-当前年度发布的数量+当前年度奖金池的数量
交易市场:玩家间可以自由交易鲨鱼,玩家需要在商场上购买鲨鱼盲盒还可以玩游戏,三个组队;
租赁系统:平台为空闲的鲨鱼提供了租赁和租赁匹配系统,玩家可以自由交易收取佣金;
游戏系统:玩家可以从游戏集合中获取到SEA、流通货币和NFT;在竞技游戏中排名较高的玩家可以获得治理代币SSS奖励;
流动性池:玩家可以将持有的SSS兑换成VeSSS成为有限合伙人,参与分享平台70%的收益;
与Axie Infinity相比:从经济模型上可以看出星鲨的长期发展规划已经做了明确的规划,选在BSC链上节省了一定的gas,也不用开发自己的侧链,节省了不少时间;同样也是双币模型,SEA吸取了SLP的一些经验教训,但效果还需要上线后观察;
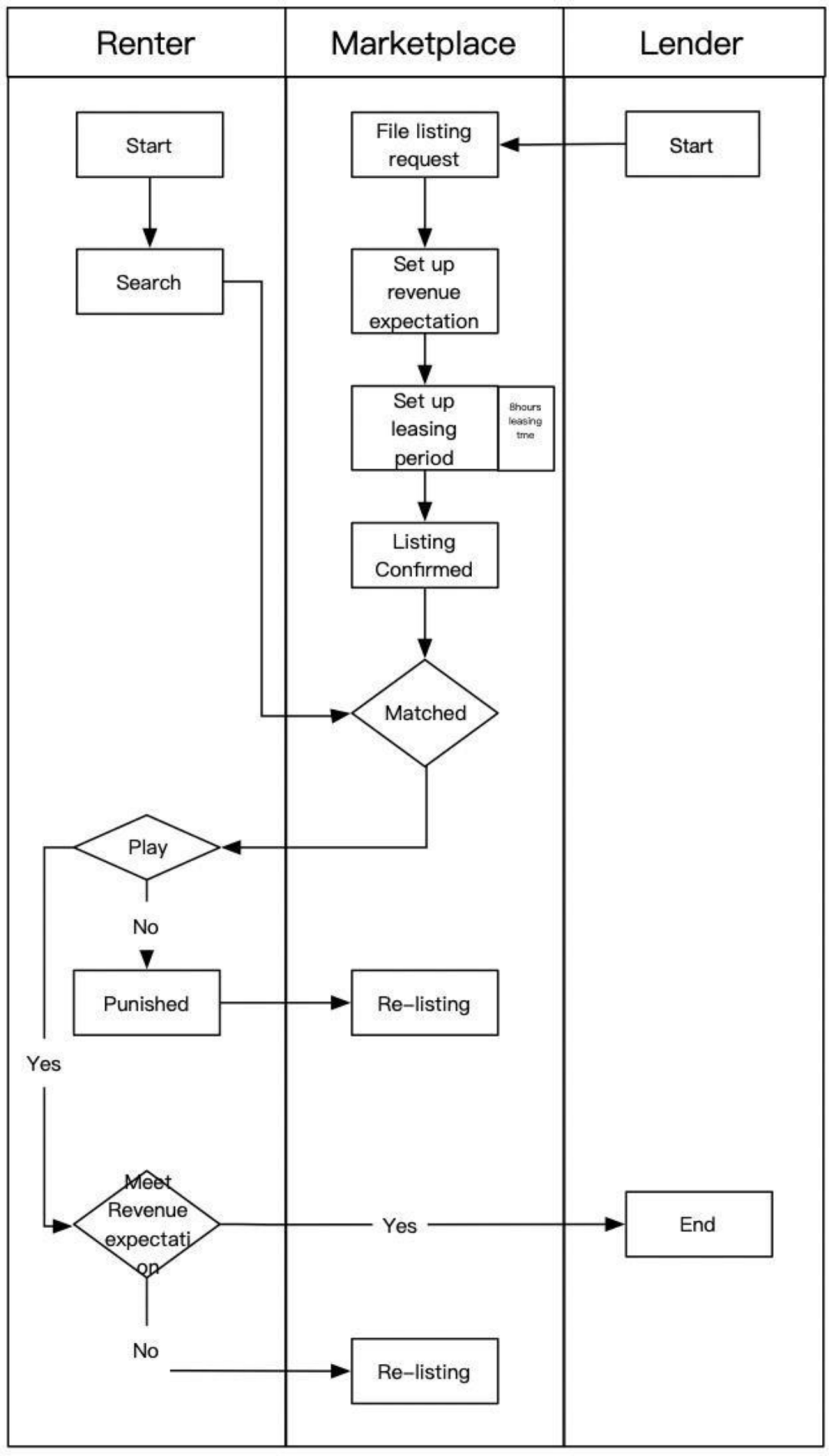
1.内置租赁系统:
降低玩家参与游戏的门槛,这样让拥有较多NFT的玩家可以获得额外收入,同时也让不能买3个鲨鱼NFT的玩家可以有较低成本参与游戏。
(租赁系统运行机制)
用户可以在租赁市场上出租自己的星鲨,供其他玩家租赁,并设定预期收益和租赁天数。租赁时间的上限为每天6个小时,而收益低于预期的星鲨可以继续在市场上市出租。如上图中的流程图所示:
租赁规则:
(1)出租者不得使用他在租赁市场上上市的鲨鱼。
(2)出租者不允许同时出租超过三只鲨鱼,而对租赁者没有这样的数量限制。
(3)那些在游戏中不使用鲨鱼的玩家会受到一定的惩罚,以保护他们的出租者利益。
(4)收入的分配由一种奖惩机制控制,以保护出租者和租赁者的利益。
● 收益分享:租赁者在游戏中获得的SEA将按照出租者的预期收益动态调整比例分配给租赁者;
2.推荐机制:
每个玩家都可以成为推荐人;加入游戏时,新玩家应填写推荐人提供的邀请代码。 推荐人有权分享BNB、SEA和SSS的巨额奖励,其具体比例与其推荐人的贡献有关。BNB和SSS分配的具体方式将根据平台的操作规则确定。
每周,该平台将根据其收入,留出一定数量的SSS(具体数量由平台的算法决定),以与自己的贡献相关的百分比分配给推广者。有效期为30天内。
每个月,该平台将根据其收入,留出一定数量的SSS(具体数字由平台的算法决定),以奖励贡献值在前500名发起人。有效期为30天内。
● 2021年10月:星鲨号的官方网站在该州上线。同时,绑定盲盒-NFT预售将开始;IDO和社区建设奖励将通过空投启动。发布了第一个PVP/PVE战斗游戏,以NFT鲨鱼为核心。启动NFT市场租赁和推荐系统。
● 2021年12月:建立官方支持基金,支持东南亚、非洲等地区黄金工会的建设。
● 2022年3月:启动PvP系统,启动PvP季节
● 2022年6月:推出第二款鲨鱼开发游戏和鲨鱼繁殖系统。
● 2022年9月:第三款以“土地建设”为主题的游戏发布。这允许玩家购买资源并在他们的土地上建造房屋。
● 2022年12月:第四款以跑酷比赛为主题的游戏即将推出。这使得有鲨鱼的玩家可以参加比赛。
● 2023年3月:第五款纸牌游戏推出,允许玩家通过隐藏家庭和赛车游戏制作的治理令牌或NFT纸牌来参与游戏
Genesis 盲盒,鲨鱼等级分为N(普通)、R(稀有)SR(超级稀有)和等级SR(超级稀有)和SSR(超级超级稀有);
总箱数:20,000
第一轮:将在币安 NFT 平台上出售总共 10,000 个盒子,可以通过进入币安平台并通过神秘盒子点击 NFT 按钮来访问这些盒子,或者通过以下面链接直接访问平台:
https://www.binance.com/en/nft/home
价格:30 BUSD
发布时间:2021年11月18日
普通(N)占创世谜盒总NFT的70%,当开启稀有创世谜盒时,玩家有20%的几率获得属性更强的鲨鱼。一个超级稀有的创世神秘盒子是一个很好的抽奖,占总盒子的 5.2%。我们还有机会向您介绍占鲨鱼总数3.6%的超稀有皮肤。超级超级稀有的创世神秘盒子是梦寐以求的东西,有1.2%的几率获得。它是最稀有的盒子,包含高级鲨鱼和皮肤。另外值得注意的是,这是玩家获得SSR皮肤的唯一机会。
第二轮:官网共售出10000盒;
价格:50 BUSD
发布时间:未定
R(sharks)、SR(sharks and skins)、SSR 皮肤仅在币安平台提供,官网仅提供Normal(N)鲨鱼皮肤。对于 StarSharks Warriors:要开始玩游戏和赚钱,玩家必须购买至少三个 StarSharks NFT 才能进入游戏。拥有三个 Starsharks NFT 的玩家将可以直接访问公开的 BETA 测试回合,所有游戏数据和进度将被保留。
提示:
从 Genesis 神秘盒子中获得三星级鲨鱼会让您在早期阶段处于优势。
两条同等级的鲨鱼可以合成一条更高等级的鲨鱼。
皮肤提供高属性,SSR的属性相当于一星级别。
游戏内相关视频演示:
https://www.youtube.com/channel/UCgf5itGHLL_hyZhctw1nsJQ
游戏上线后会为大家做详细游戏攻略及收益测算,敬请期待~
https://mp.weixin.qq.com/s/D0hkCwl2rSyMVUPy2y69GA
可以节省一半手续费,需要从邀请链接注册 邀请码 TGUZX4KW
币安注册邀请链接,需要kyc实名认证。
https://accounts.binancezh.sh/zh-CN/register?ref=TGUZX4KW
抢购链接:
https://www.binance.com/zh-CN/nft/event/StarSharks
价格:30 BUSD/个
StarSharkS星鲨链游CMO(市场总监)11月18日最新访谈纪实!
赛铂Cyber链游访谈纪实

AMA Questions with “Starsharks” November 18th, 10AM UTC
AMA与“星鲨”的问题协调世界时11月18日上午10点
Can you please introduce yourself?
请介绍下你自己?
Hi all, this is Vanessa, CMO of StarSharks. It is great to connect with you and look forward to sharing more info about this project and our journey with you all.
大家好我是 Vanessa,星鲨的首席营销官(市场总监)。很高兴与您联系,并期待与大家分享有关此项目和我们的进程的更多信息。
Can you please introduce your project and the problems you want to solve / Solutions
you are proposing?
请介绍下你们的项目,在开发中遇到了什么问题,都是如何解决的?
StarSharks is a marine-theme GameFi platform with a sustainable economy system, where all the assets (NFT&tokens) can be used in a series of high-quality games created and governed by the community. Players can enjoy and create different types of games, and socialize with each other in the StarSharks metaverse while sharing the profit of StarSharks platform.
星鲨是一个以海洋为主题的 GameFi 平台,具有可持续的经济体系,所有资产(NFT&代币)都可以用于一系列由社区创建和管理的优质游戏。 玩家可以在星鲨元宇宙中享受和创造不同类型的游戏,相互交流,同时分享星鲨平台的收益。
The StarSharks team is a group of talents with strong gaming and crypto backgrounds, and we always believe that a real metaverse should have a series of high-quality virtual experiences for players to enjoy, efficient tools for builders to craft the virtual world, and a sustainable economy model where all the assets will be able to circulate in all games and truly belong to the users.
星鲨是由一群具有强大游戏和加密背景的人才构建的团队,我们始终认为一个真正的 元宇宙应该有一系列高品质的虚拟体验内容供玩家享受,同时提供高效的工具给构建者以打造虚拟世界,并且是可持续的。所有资产都能在所有游戏中流通,是真正属于用户的经济模式。
However, when we look at the current GameFi market, we feel that the market is dominated by a lot of independent games with isolated assets that can only thrive in one game, and the value of such assets cannot be sustainable since the applications are limited. Also, in most cases, the games don’t interact well with the community - players/users are excluded in the game development, and unable to shape the value of their game assets.
然而,我们看一下目前的 GameFi 市场,我们觉得这个市场被很多独立游戏所主导, 资产孤立,只能在一个游戏中成长,而且这些资产的价值是无法持续的,因为应用范围有限。 此外,在大多数情况下,游戏与社区互动不佳--玩家/用户被排除在游戏开发之外,无法塑造其游戏真正的资产价值。
Therefore, we would like to develop a quality GameFi platform with state-of-the-art game series created and governed by the community, under the support of our strong gaming development team. StarSharks team will create the first 5 initial games and provide SDK to external game developers as well as our community to build the future of StarSharks metaverse.
因此,我们希望在我们强大的游戏开发团队的支持下,开发一个基于优质的 GameFi平台的且具有由社区创建和管理的最先进的游戏系列。星鲨团队将先创建 5 款初始游戏,并向外部游戏开发者和我们的社区提供 SDK,以构建星鲨元宇宙的未来。
To date, StarSharks has developed the first game 'StarSharks: Warriors' and it is going through the second round of internal tests. We are thrilled to work with Binance NFT through IGO, Initial Game Offering, users can get the genesis NFTs on the Binance NFT platform to join StarSharks world. We look forward to having our community on board to design the next few games together and continually create value with StarSharks assets.
迄今为止,星鲨已开发出第一款游戏《StarSharks: Warriors》《星鲨:勇者集结》, 并正在进行第二轮内测。 我们很高兴通过 IGO(初始游戏产品)与币安 NFT 合作, 用户可以在币安 NFT 平台上获得创世 NFT,加入星鲨世界。 我们期待让我们的社区参与设计接下来的几款游戏,并不断利用星鲨的资产创造价值。

Q1: Speaking of IGO, Can you give us a brief introduction to it?
问题 1:说到 IGO,能否简单介绍一下?
The shark-themed Genesis Mystery Boxes offer the chance to win unique NFTs. There will be a total of 10,000 boxes available in the first round on November 18, 2021. To start playing and earning, players must purchase at least three StarSharks NTFs to enter the game. Players with three Starsharks NTFswill have direct access to the open BETA test round, all gaming data and progress will be kept.
以鲨鱼为主题的创世盲盒会给大家提供获得独特 NFT 的机会。 2021 年 11 月 18 日第一轮,总共会有 10,000 个盒子。想要加入到玩赚(Play to earn)模式,玩家必须购买至少三个星鲨 NFT 才能进入游戏。 拥有三个星鲨 NFT 的玩家将有权利加入到不删档测试中,并且所有游戏数据和进度将被保留到公测中。
Q2:This sounds very promising! But you guys posted that there are 20,000 Genesis Mystery Boxes in total, so what is the difference between the remaining 10,000 Genesis Mystery Boxes sold on your official website and this round?
问题 2:这听起来真是让人充满了希望! 但是你们发帖说一共有 2 万个创世秘盒,那你们官网售出的剩余 1 万个创世秘盒和本轮有什么区别呢?
You mentioned a key issue! There is a very big difference between the two when it comes to sales prices.
你提出了一个关键问题! 在销售价格方面,两者之间存在很大差异。
The unit price for selling on the Binance NFT is 30BUSD each, while our subsequent price for selling on the official website is 50BUSD.
在币安 NFT 上的销售单价为 30BUSD 每个,而我们后续在官网的销售单价为 50BUSD每个。
This is not only our way to give back to our initial loyal players but also to give back to Binance and the BSC users for their tremendous support to us.
这不仅是我们回馈最初一批忠实玩家的方式,也是回馈币安和 BSC 用户对我们的大力支持。
One more difference is the content of the mystery box. Only this round of Genesis Mystery Boxes sold on Binance NFT will have high star sharks as well as RARE skins. Based on the available information, players also know that our sharks cannot reproduce, they can only be synthesized.
还有一个不同的是神秘盒子的内容。只有在币安 NFT 上出售的这一轮创世盲盒中会有高星鲨鱼和稀有皮肤。 根据现有资料,玩家都知道我们的鲨鱼没有繁殖能力,只能进行合成。

Therefore, a shark with a high star rating will have stronger abilities. The skin will further improve the shark's combat power.
所以,星级高的鲨鱼,能力会更强。 皮肤也将进一步提高鲨鱼的战斗力。

It is also worth noting that the mystery box sold on our official website will contain ONLY N (normal) sharks.
另外值得注意的是,我们官网出售的神秘盒子将只包含 N 级(普通)鲨鱼。
Q3: Wow...20,000 Genesis Mystery Boxes sound really competitive for the users who are now active, what should they do if they didn’t get the chance this time?
问题 3:哇...20,000 个创世盲盒对于现在活跃的用户来说真的很有竞争力,如果他们这次没有获得机会怎么办?
In addition, we have limited the number of Genesis Mystery Boxes that can be purchased per account. As much as possible, we are trying to ensure that every account can participate in this activity fairly.
此外,我们限制了每个帐户可以购买的创世纪神秘盒的数量。 我们尽可能地确保每个帐户都能公平地参与此活动。
If they are still not available through these methods, players can purchase through the Binance secondary market or wait for the subsequent sale of Genesis Mystery Boxes on Starsharks’ official website.
如果通过这些方式仍然无法获得 NFT,玩家可以通过币安二级市场进行购买,或者等待我们在官网进行的后续的创世盲盒的发售。
Also, if players find they can't afford the cost of NFT, we have a rental system built into the game where players can rent someone else's NTFsto play the game and earn income.
此外,如果玩家发现他们负担不起 NFT 的成本及费用,我们在游戏中也内置了一个租赁系统,玩家可以租用其他人的 NFT 来玩游戏并赚取收入。
(The img below provides a concise overview of our built-in rental system)
(下面的图片简要概述了一下我们的内置租赁系统)

Q4:Now there are many P2E GameFi projects on the market, what makes StarSharks stand out from it?
问题 4:现在市面上玩赚(Play to earn)的 GameFi 项目众多,究竟是什么让星鲨脱颖而出呢?
This is a good one! Instead of being an isolated game, StarSharks is a blockchain game platform with a series of connected games and has its metaverse value.StarSharks has significant advantages in visuals, experience, and community engagement.
这是个不错的问题! 星鲨不只是一个孤立的游戏,而是一个具有一系列连续性游戏的区块链游戏平台,具有元宇宙的概念。星鲨在视觉、体验和社区共同参与方面具有明显优势。
Our game is a 3D anthropomorphic game applied to the mobile game platform, which can achieve 3D and beautiful picture quality and guarantee to play anytime and anywhere without the limitation of time and space.
我们的游戏是一款应用于手游平台的 3D 仿真游戏,可以展现精美的 3D 画质,并保证玩家随时随地畅玩,不受时间和空间的限制。
StarSharks does not just offer users a single game category but rather ties the entire platform together through multiple genres to create its independent IP. We have developed a total of 5 games, each with different settings and gameplay upgrades.
星鲨不只是为用户提供单一的游戏类别,而是通过多种类型的应用将整个平台联系在一起,以创建自己的独立 IP。我们一共开发了 5 款游戏,每款游戏都有不同的设定和升级玩法。
The most important point is that through different gameplay and experience in Starsharks, users can feel that every link involved in the game has output, consumption, and connection.
最重要的一点是,通过星鲨中不同的玩法和体验,用户可以感受到游戏中涉及的每一个环节都有产出、消耗和关联。
Therefore, all assets are closed-loop in the end.
因此,所有资产最终都会产生闭环效应。
Q5:Good to know this about Starsharks! Are there other ways to make money besides playing games?
问题 5:很高兴知道有关星鲨的这些信息!除了玩游戏还有别的赚钱方式吗?
Before developing this game, we took into account the different needs of players. Apart from just playing the game for earnings, there are many other ways to do it.
在构建这款游戏之前,我们考虑到了玩家的不同需求。 除了只是为了赚钱而玩游戏外,还有许多其他方法可以做到。
For those players who have the funds but not the time to play, they can put their NTFs in our built-in rental system and earn income by renting them out. On the contrary, players can earn commissions by renting NFTs from NFT owners.
对于有资金但没时间玩游戏的玩家,可以将 NFT 放入我们内置的租赁系统中,通过出租赚取收入。相反,玩家可以通过向 NFT 所有者租借 NFT 的方式来使用并赚取佣金。
And for our real gamer, we suggest that you can always challenge the PVP ranking and thus earn a monthly ranking reward, which will be a substantial income. Please wait for our final announcement of the rewards.
而对于我们真正的玩家来说,我们建议您可以随时挑战 PVP 排名,从而通过每个月的排名奖励获得 SSS 代币,这将是一笔非常可观的收入。
Last but not least, for investors who have faith in us and are prepared to hold for the long term, we have set up a pledge system to magnify the return on their investments.
最后,对于对我们有信心并准备长期持有的投资者,我们建立了质押制度,以放大他们的投资回报。
Ultimately, users need to choose how to earn money in relation to their own needs.
总而言之,用户需要根据自己的需求选择如何来赚钱。
Q6:All of this sounds promising, it must be inseparable from the massive support behind the project. Would you give us some “sneak peek” about the investors of the project?
问题 6:这一切听上去真是充满希望,必然离不开项目背后的大力支持。你能给我们一些关于项目投资者的信息让我们“先睹为快”吗?
We are grateful to have the support of our STAR investors.
我们非常感谢我们明星投资者的支持。
In this round, we have secured a Strategic Investment from Binance Labs. At the present stage, we are approaching making contact with the private placement and have already received investments from many well-known and leading institutions! We always look forward to working with partners who share the same values as us.
在这一轮中,我们获得了币安实验室的战略性投资。 现阶段,我们正在尝试与私募接触,已经获得了多家知名和领先机构的投资! 我们一直期待与和我们拥有相同价值观的合作伙伴进行合作。
All institutions will be announced in due course after completion.
所有的投资机构将在完成后适时公布。
Q7:Can you briefly tell us what other plans or activities Starsharks plan to implement next?
问题 7:您能否简要介绍一下,星鲨下一步计划进行的其他计划或活动吗?
I don't think it's necessary to go into too much detail about the Genesis Mystery Boxes as I have previously spoken on it. After the Mystery Boxes campaign, we will have a round of public testing, which is unlike the previous tests, all gaming data and progress will be kept.
我认为没有必要对我之前提到的创世盲盒进行过多的详细介绍。创世盲盒活动结束后,我们将进行一轮公开测试,与之前的第二阶段测试不同,公开测试所有游戏数据和进度都将保留。
In the meantime, our contract is currently being audited by a third party and our Token (SSS) will soon be released.
同时,我们的代币合约目前正在接受第三方审计,SSS 代币即将发布。
If things go well, our game will be officially launched!
如果一切顺利,我们的游戏将正式上线!
Thank you very much for your active participation in our AMA activity and how you have valued and supported the Starsharks project. We will have a series of actions and follow-up announcements on our various official public platforms. We firmly believe that actions speak louder than words. We will do our best in order to live up to your trust and support!
非常感谢您积极参与我们的 AMA 活动,以及您对星鲨项目的重视和支持,我们将在我们的各个官方公共平台上进行一系列的行动以及后续公告。 我们坚信,事实胜于雄辩。为了不辜负您的信任和支持,我们将竭尽全力!
Stay Tuned Sharks!
敬请期待!
We welcome further questions from you all.
欢迎大家提出疑问。
Go follow StarSharks on all platforms.
请在所有平台关注星鲨。
Twitter: https://twitter.com/StarSharks_SSS
Telegram: https://t.me/starsharks_SSS
Discord: https://discord.gg/TZfxJbnS3e
Medium: https://medium.com/@StarSharks
Youtube: https://www.youtube.com/channel/UCgf5itGHLL_hyZhctw1nsJQ
Website: https://starsharks.com/
CyberGames WeChat: IPFS133
CyberGames QQ:3043869079/1975770122
2021.11.19
https://zhuanlan.zhihu.com/p/435057832
StarSharkS星鲨链游CMO(市场总监)11月18日最新访谈纪实!
赛铂Cyber链游访谈纪实

AMA Questions with “Starsharks” November 18th, 10AM UTC
AMA与“星鲨”的问题协调世界时11月18日上午10点
Can you please introduce yourself?
请介绍下你自己?
Hi all, this is Vanessa, CMO of StarSharks. It is great to connect with you and look forward to sharing more info about this project and our journey with you all.
大家好我是 Vanessa,星鲨的首席营销官(市场总监)。很高兴与您联系,并期待与大家分享有关此项目和我们的进程的更多信息。
Can you please introduce your project and the problems you want to solve / Solutions
you are proposing?
请介绍下你们的项目,在开发中遇到了什么问题,都是如何解决的?
StarSharks is a marine-theme GameFi platform with a sustainable economy system, where all the assets (NFT&tokens) can be used in a series of high-quality games created and governed by the community. Players can enjoy and create different types of games, and socialize with each other in the StarSharks metaverse while sharing the profit of StarSharks platform.
星鲨是一个以海洋为主题的 GameFi 平台,具有可持续的经济体系,所有资产(NFT&代币)都可以用于一系列由社区创建和管理的优质游戏。 玩家可以在星鲨元宇宙中享受和创造不同类型的游戏,相互交流,同时分享星鲨平台的收益。
The StarSharks team is a group of talents with strong gaming and crypto backgrounds, and we always believe that a real metaverse should have a series of high-quality virtual experiences for players to enjoy, efficient tools for builders to craft the virtual world, and a sustainable economy model where all the assets will be able to circulate in all games and truly belong to the users.
星鲨是由一群具有强大游戏和加密背景的人才构建的团队,我们始终认为一个真正的 元宇宙应该有一系列高品质的虚拟体验内容供玩家享受,同时提供高效的工具给构建者以打造虚拟世界,并且是可持续的。所有资产都能在所有游戏中流通,是真正属于用户的经济模式。
However, when we look at the current GameFi market, we feel that the market is dominated by a lot of independent games with isolated assets that can only thrive in one game, and the value of such assets cannot be sustainable since the applications are limited. Also, in most cases, the games don’t interact well with the community - players/users are excluded in the game development, and unable to shape the value of their game assets.
然而,我们看一下目前的 GameFi 市场,我们觉得这个市场被很多独立游戏所主导, 资产孤立,只能在一个游戏中成长,而且这些资产的价值是无法持续的,因为应用范围有限。 此外,在大多数情况下,游戏与社区互动不佳--玩家/用户被排除在游戏开发之外,无法塑造其游戏真正的资产价值。
Therefore, we would like to develop a quality GameFi platform with state-of-the-art game series created and governed by the community, under the support of our strong gaming development team. StarSharks team will create the first 5 initial games and provide SDK to external game developers as well as our community to build the future of StarSharks metaverse.
因此,我们希望在我们强大的游戏开发团队的支持下,开发一个基于优质的 GameFi平台的且具有由社区创建和管理的最先进的游戏系列。星鲨团队将先创建 5 款初始游戏,并向外部游戏开发者和我们的社区提供 SDK,以构建星鲨元宇宙的未来。
To date, StarSharks has developed the first game 'StarSharks: Warriors' and it is going through the second round of internal tests. We are thrilled to work with Binance NFT through IGO, Initial Game Offering, users can get the genesis NFTs on the Binance NFT platform to join StarSharks world. We look forward to having our community on board to design the next few games together and continually create value with StarSharks assets.
迄今为止,星鲨已开发出第一款游戏《StarSharks: Warriors》《星鲨:勇者集结》, 并正在进行第二轮内测。 我们很高兴通过 IGO(初始游戏产品)与币安 NFT 合作, 用户可以在币安 NFT 平台上获得创世 NFT,加入星鲨世界。 我们期待让我们的社区参与设计接下来的几款游戏,并不断利用星鲨的资产创造价值。

Q1: Speaking of IGO, Can you give us a brief introduction to it?
问题 1:说到 IGO,能否简单介绍一下?
The shark-themed Genesis Mystery Boxes offer the chance to win unique NFTs. There will be a total of 10,000 boxes available in the first round on November 18, 2021. To start playing and earning, players must purchase at least three StarSharks NTFs to enter the game. Players with three Starsharks NTFswill have direct access to the open BETA test round, all gaming data and progress will be kept.
以鲨鱼为主题的创世盲盒会给大家提供获得独特 NFT 的机会。 2021 年 11 月 18 日第一轮,总共会有 10,000 个盒子。想要加入到玩赚(Play to earn)模式,玩家必须购买至少三个星鲨 NFT 才能进入游戏。 拥有三个星鲨 NFT 的玩家将有权利加入到不删档测试中,并且所有游戏数据和进度将被保留到公测中。
Q2:This sounds very promising! But you guys posted that there are 20,000 Genesis Mystery Boxes in total, so what is the difference between the remaining 10,000 Genesis Mystery Boxes sold on your official website and this round?
问题 2:这听起来真是让人充满了希望! 但是你们发帖说一共有 2 万个创世秘盒,那你们官网售出的剩余 1 万个创世秘盒和本轮有什么区别呢?
You mentioned a key issue! There is a very big difference between the two when it comes to sales prices.
你提出了一个关键问题! 在销售价格方面,两者之间存在很大差异。
The unit price for selling on the Binance NFT is 30BUSD each, while our subsequent price for selling on the official website is 50BUSD.
在币安 NFT 上的销售单价为 30BUSD 每个,而我们后续在官网的销售单价为 50BUSD每个。
This is not only our way to give back to our initial loyal players but also to give back to Binance and the BSC users for their tremendous support to us.
这不仅是我们回馈最初一批忠实玩家的方式,也是回馈币安和 BSC 用户对我们的大力支持。
One more difference is the content of the mystery box. Only this round of Genesis Mystery Boxes sold on Binance NFT will have high star sharks as well as RARE skins. Based on the available information, players also know that our sharks cannot reproduce, they can only be synthesized.
还有一个不同的是神秘盒子的内容。只有在币安 NFT 上出售的这一轮创世盲盒中会有高星鲨鱼和稀有皮肤。 根据现有资料,玩家都知道我们的鲨鱼没有繁殖能力,只能进行合成。

Therefore, a shark with a high star rating will have stronger abilities. The skin will further improve the shark's combat power.
所以,星级高的鲨鱼,能力会更强。 皮肤也将进一步提高鲨鱼的战斗力。

It is also worth noting that the mystery box sold on our official website will contain ONLY N (normal) sharks.
另外值得注意的是,我们官网出售的神秘盒子将只包含 N 级(普通)鲨鱼。
Q3: Wow...20,000 Genesis Mystery Boxes sound really competitive for the users who are now active, what should they do if they didn’t get the chance this time?
问题 3:哇...20,000 个创世盲盒对于现在活跃的用户来说真的很有竞争力,如果他们这次没有获得机会怎么办?
In addition, we have limited the number of Genesis Mystery Boxes that can be purchased per account. As much as possible, we are trying to ensure that every account can participate in this activity fairly.
此外,我们限制了每个帐户可以购买的创世纪神秘盒的数量。 我们尽可能地确保每个帐户都能公平地参与此活动。
If they are still not available through these methods, players can purchase through the Binance secondary market or wait for the subsequent sale of Genesis Mystery Boxes on Starsharks’ official website.
如果通过这些方式仍然无法获得 NFT,玩家可以通过币安二级市场进行购买,或者等待我们在官网进行的后续的创世盲盒的发售。
Also, if players find they can't afford the cost of NFT, we have a rental system built into the game where players can rent someone else's NTFsto play the game and earn income.
此外,如果玩家发现他们负担不起 NFT 的成本及费用,我们在游戏中也内置了一个租赁系统,玩家可以租用其他人的 NFT 来玩游戏并赚取收入。
(The img below provides a concise overview of our built-in rental system)
(下面的图片简要概述了一下我们的内置租赁系统)

Q4:Now there are many P2E GameFi projects on the market, what makes StarSharks stand out from it?
问题 4:现在市面上玩赚(Play to earn)的 GameFi 项目众多,究竟是什么让星鲨脱颖而出呢?
This is a good one! Instead of being an isolated game, StarSharks is a blockchain game platform with a series of connected games and has its metaverse value.StarSharks has significant advantages in visuals, experience, and community engagement.
这是个不错的问题! 星鲨不只是一个孤立的游戏,而是一个具有一系列连续性游戏的区块链游戏平台,具有元宇宙的概念。星鲨在视觉、体验和社区共同参与方面具有明显优势。
Our game is a 3D anthropomorphic game applied to the mobile game platform, which can achieve 3D and beautiful picture quality and guarantee to play anytime and anywhere without the limitation of time and space.
我们的游戏是一款应用于手游平台的 3D 仿真游戏,可以展现精美的 3D 画质,并保证玩家随时随地畅玩,不受时间和空间的限制。
StarSharks does not just offer users a single game category but rather ties the entire platform together through multiple genres to create its independent IP. We have developed a total of 5 games, each with different settings and gameplay upgrades.
星鲨不只是为用户提供单一的游戏类别,而是通过多种类型的应用将整个平台联系在一起,以创建自己的独立 IP。我们一共开发了 5 款游戏,每款游戏都有不同的设定和升级玩法。
The most important point is that through different gameplay and experience in Starsharks, users can feel that every link involved in the game has output, consumption, and connection.
最重要的一点是,通过星鲨中不同的玩法和体验,用户可以感受到游戏中涉及的每一个环节都有产出、消耗和关联。
Therefore, all assets are closed-loop in the end.
因此,所有资产最终都会产生闭环效应。
Q5:Good to know this about Starsharks! Are there other ways to make money besides playing games?
问题 5:很高兴知道有关星鲨的这些信息!除了玩游戏还有别的赚钱方式吗?
Before developing this game, we took into account the different needs of players. Apart from just playing the game for earnings, there are many other ways to do it.
在构建这款游戏之前,我们考虑到了玩家的不同需求。 除了只是为了赚钱而玩游戏外,还有许多其他方法可以做到。
For those players who have the funds but not the time to play, they can put their NTFs in our built-in rental system and earn income by renting them out. On the contrary, players can earn commissions by renting NFTs from NFT owners.
对于有资金但没时间玩游戏的玩家,可以将 NFT 放入我们内置的租赁系统中,通过出租赚取收入。相反,玩家可以通过向 NFT 所有者租借 NFT 的方式来使用并赚取佣金。
And for our real gamer, we suggest that you can always challenge the PVP ranking and thus earn a monthly ranking reward, which will be a substantial income. Please wait for our final announcement of the rewards.
而对于我们真正的玩家来说,我们建议您可以随时挑战 PVP 排名,从而通过每个月的排名奖励获得 SSS 代币,这将是一笔非常可观的收入。
Last but not least, for investors who have faith in us and are prepared to hold for the long term, we have set up a pledge system to magnify the return on their investments.
最后,对于对我们有信心并准备长期持有的投资者,我们建立了质押制度,以放大他们的投资回报。
Ultimately, users need to choose how to earn money in relation to their own needs.
总而言之,用户需要根据自己的需求选择如何来赚钱。
Q6:All of this sounds promising, it must be inseparable from the massive support behind the project. Would you give us some “sneak peek” about the investors of the project?
问题 6:这一切听上去真是充满希望,必然离不开项目背后的大力支持。你能给我们一些关于项目投资者的信息让我们“先睹为快”吗?
We are grateful to have the support of our STAR investors.
我们非常感谢我们明星投资者的支持。
In this round, we have secured a Strategic Investment from Binance Labs. At the present stage, we are approaching making contact with the private placement and have already received investments from many well-known and leading institutions! We always look forward to working with partners who share the same values as us.
在这一轮中,我们获得了币安实验室的战略性投资。 现阶段,我们正在尝试与私募接触,已经获得了多家知名和领先机构的投资! 我们一直期待与和我们拥有相同价值观的合作伙伴进行合作。
All institutions will be announced in due course after completion.
所有的投资机构将在完成后适时公布。
Q7:Can you briefly tell us what other plans or activities Starsharks plan to implement next?
问题 7:您能否简要介绍一下,星鲨下一步计划进行的其他计划或活动吗?
I don't think it's necessary to go into too much detail about the Genesis Mystery Boxes as I have previously spoken on it. After the Mystery Boxes campaign, we will have a round of public testing, which is unlike the previous tests, all gaming data and progress will be kept.
我认为没有必要对我之前提到的创世盲盒进行过多的详细介绍。创世盲盒活动结束后,我们将进行一轮公开测试,与之前的第二阶段测试不同,公开测试所有游戏数据和进度都将保留。
In the meantime, our contract is currently being audited by a third party and our Token (SSS) will soon be released.
同时,我们的代币合约目前正在接受第三方审计,SSS 代币即将发布。
If things go well, our game will be officially launched!
如果一切顺利,我们的游戏将正式上线!
Thank you very much for your active participation in our AMA activity and how you have valued and supported the Starsharks project. We will have a series of actions and follow-up announcements on our various official public platforms. We firmly believe that actions speak louder than words. We will do our best in order to live up to your trust and support!
非常感谢您积极参与我们的 AMA 活动,以及您对星鲨项目的重视和支持,我们将在我们的各个官方公共平台上进行一系列的行动以及后续公告。 我们坚信,事实胜于雄辩。为了不辜负您的信任和支持,我们将竭尽全力!
Stay Tuned Sharks!
敬请期待!
We welcome further questions from you all.
欢迎大家提出疑问。
Go follow StarSharks on all platforms.
请在所有平台关注星鲨。
Twitter: https://twitter.com/StarSharks_SSS
Telegram: https://t.me/starsharks_SSS
Discord: https://discord.gg/TZfxJbnS3e
Medium: https://medium.com/@StarSharks
Youtube: https://www.youtube.com/channel/UCgf5itGHLL_hyZhctw1nsJQ
Website: https://starsharks.com/
CyberGames WeChat: IPFS133
CyberGames QQ:3043869079/1975770122
2021.11.19
https://zhuanlan.zhihu.com/p/435057832
区块链神吐槽